从“反反无人机”谈起:多天线抗干扰让无线通信更可靠
俄乌冲突的战场实践,已然成为新型军事技术的“试验场”与“催化剂”,其中无人机与反无人机技术的博弈尤为激烈。这场“矛与盾”的持续对抗,让一个核心命题愈发凸显:无人机的作战效能,根本上依赖于稳定、可靠的通信链路,这也是为什么光纤无人机能够横空出世。
而“反反无人机”能力的核心,正是突破敌方电子干扰的无人机抗干扰通信技术。传统通信抗干扰主要有跳频、跳时、扩频等,其本质是在时间与频率维度上进行时频设计以达到“躲避”干扰信号的目的。
然而,随着干扰技术的不断发展,各种大功率、智能型干扰手段层出不穷,仅仅依靠“被动躲藏”已经难以有效应对新型干扰手段。今天我们介绍的主题,将抗干扰拓展到了空间域——也就是利用信号和干扰来自不同方向这一特点,实现“智能屏蔽”。
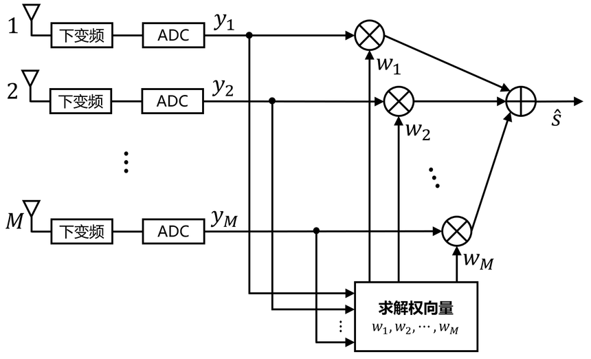
常规波束形成的核心思想很简单:接收中安装多个接收天线,如图1所示。利用波的干涉原理巧妙地控制各个阵元的相位和幅度,在特定方向上叠加或相消。如果把单天线看作全向照射的点光源,那么波束形成技术就是在探讨如何将四散的光汇聚到我们想要的方向。

图1 多天线空域抗干扰
自适应波束形成除了可以将主波束对准期望信号方向外,还可以在干扰方向上形成零陷,这也使得自适应波束形成的抗干扰能力远强于常规波束形成,如图2。
零陷的方向总是可以根据环境中干扰信号的来波方向自适应调整,因此称之为自适应波束形成。超强的抗干扰能力使得自适应波束形成成为空域抗干扰的主要手段。
图2 天线阵列波束形成增益方向图
最小方差无失真响应(MVDR)是自适应波束形成的黄金准则,它在期望信号来波方向保持最大增益,同时最小化其它方向的信号接收功率。这样,期望信号可以穿过自适应波束形成器进入后级接收机,而其干扰方向的信号则由于“最小化接收功率”而被抑制。
然而,实际应用中,MVDR需要提前知道期望信号来波方向,一旦期望信号方向估计有误,抗干扰性能会明显下降。在一些无法提供期望信号来波方向的场景和系统中,甚至无法使用自适应波束形成。这极大限制了空域抗干扰的应用范围和性能。
最小均方误差(MMSE)准则很好地解决了MVDR面临的问题,MMSE不需要提前知道期望信号的来波方向信息,只需要知道期望信号的波形信息,而这与现代通信系统的设计不谋而合——绝大多数的通信标准都包含一段已知的“训练序列”或“导频”,如图3。这就给予了MMSE扬长避短的发挥空间,极大拓展了空域抗干扰的应用场景。

图3 MMSE空域抗干扰
例如,在高速移动的通信场景中(高铁、高速飞行器等),由于无线信道的快速变化,来波估计尚未完成,信道可能已经改变,导致波束指向错误;
再比如,对于存在密集多径的散射环境中(建筑密集区、室内无线网络等),往往并不存在一个清晰的主信号方向,期望信号可以从多个方向到达,而MMSE可以通过期望信号的已知部分正确合并多径能量;
此外,还有着一类参考系不稳定的场景,例如手持终端、机载通信等,由于通信设备或平台的倾斜、旋转等,导致天线阵列、目标设备、干扰源的相对空间关系产生不可预测的变化,导致基于固定空间参考系的波束形成方法基本失效,而无需角度信息的MMSE则正好规避了这一点。
经过测试验证,MMSE空域抗干扰效果得到了充分验证,并在实际接收机测试中得到了应用。

图4 MMSE空域抗干扰应用案例
本文介绍了有别于传统通信抗干扰手段的一项空域抗干扰技术——自适应波束形成技术,包括阵列信号处理的简单原理以及各种不同的最优接收准则。MMSE准则凭借其与现有通信体系的天然契合,以及对复杂场景的良好适应性,已成为自适应波束形成技术中实用性更强的选择。面向5G-A、6G及空天地一体化网络的发展,无人机抗干扰通信领域(反反无人机),MMSE一类不依赖角度信息、以信号为导向的智能抗干扰解决方案,正展现出越来越重要的价值。
祯仪科技,专业从事宽频段无线电信号接收,适用于无线电管理、信号侦查与分析、通用频谱分析、卫星导航监测、低空复杂电磁环境感知等。
Recommend
-
-
QQ Zone
-
Sina Weibo
-
Renren.com
-
Douban
